Web-Books
im Austria-Forum
Austria-Forum
Web-Books
Technik
Emerging Technologies for Electric and Hybrid Vehicles
Seite - 288 -
  • Benutzer
  • Version
    • Vollversion
    • Textversion
  • Sprache
    • Deutsch
    • English - Englisch

Seite - 288 - in Emerging Technologies for Electric and Hybrid Vehicles

Bild der Seite - 288 -

Bild der Seite - 288 - in Emerging Technologies for Electric and Hybrid Vehicles

Text der Seite - 288 -

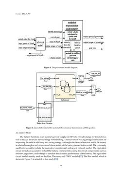
Energies 2016,9, 997 Figure5.Thepowertrainmodeldiagram. Figure6.Gearshiftmodelof theautomatedmechanical transmission(AMT)gearbox. 2.4. BatteryModel Thebattery functionsasanauxiliarypowersupply forHEVstoprovideenergyfor themotoras wellasrecycle theexcesskineticenergywhenbraking. Therecoveryofbrakingenergyis important for improvingthevehicleefficiencyandsavingenergy.Althoughthechemical reaction inside thebattery isrelativelycomplex,onlytheexternalcharacteristicof thebatteryisusedinthemodel. Thecommonly usedbatterymodels includetheequivalentcircuitmodelandneuralnetworkmodel. Theequivalent circuitmodel canaccurately reflect thebatterycharacteristicsusing thecircuit components suchas resistors, capacitors,andvoltage tosimulate thedynamicperformanceof thebattery. Theequivalent circuitmodelsmainlyusedare theRint,Thevenin,andPNGVmodels [27]. TheRintmodel,which is showninFigure7, is selected in this study[28]. 288
zurück zum  Buch Emerging Technologies for Electric and Hybrid Vehicles"
Emerging Technologies for Electric and Hybrid Vehicles
Titel
Emerging Technologies for Electric and Hybrid Vehicles
Herausgeber
MDPI
Ort
Basel
Datum
2017
Sprache
englisch
Lizenz
CC BY-NC-ND 4.0
ISBN
978-3-03897-191-7
Abmessungen
17.0 x 24.4 cm
Seiten
376
Schlagwörter
electric vehicle, plug-in hybrid electric vehicle (PHEV), energy sources, energy management strategy, energy-storage system, charging technologies, control algorithms, battery, operating scenario, wireless power transfer (WPT)
Kategorie
Technik
Web-Books
Bibliothek
Datenschutz
Impressum
Austria-Forum
Austria-Forum
Web-Books
Emerging Technologies for Electric and Hybrid Vehicles